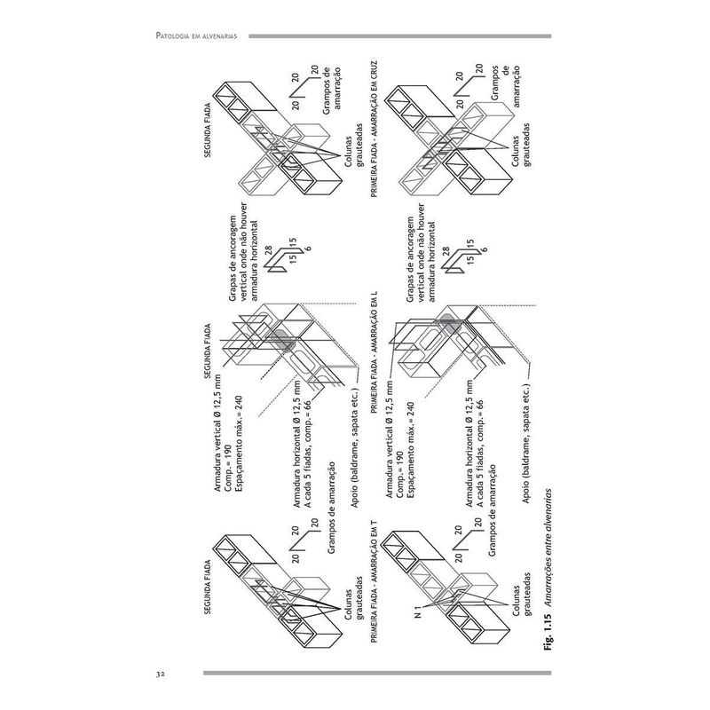
Alvenaria é usada desde a pré-história e continua sendo o sistema construtivo mais difundido, inclusive no Brasil. Uma breve observação nas edificações existentes nos revela alta incidência de anomalias em alvenarias e revestimentos. Esta obra vem trazer esclarecimentos e soluções a esses problemas. Após abordar aspectos de projeto e detalhes construtivos importantes em alvenarias de vedação e alvenarias estruturais, o livro descreve de forma clara e didática as patologias e suas causas mais comuns, bem ilustradas por esquemas e fotos de casos reais, não descuidando ainda dos revestimentos argamassados. A terceira parte do livro se debruça sobre a identificação dos maus desempenhos, suas causas e reparos possíveis. Uma grande contribuição para a melhoria das práticas construtivas e manutenção das edificações.
Informações sobre o Livro
Título do livro : PATOLOGIA EM ALVENARIAS
Autor : CAPORRINO, CRISTIANA FURLAN
Idioma : Português
Editora do livro : OFICINA DE TEXTOS
Capa do livro : Mole
Ano de publicação : 2018
Quantidade de páginas : 96
Altura : 23 cm
Largura : 16 cm
Peso : 293 g
Gênero do livro : Engenharia
Subgêneros do livro : Tecnologia e engenharia
Tipo de narração : Manual
Data de publicação : 20-07-2018













